压力校验仪表
  温度校验仪表
  数字显示仪表
  液位物位仪表
  流量测量仪表
  温度测量仪表
  压力测量仪表
  电线电缆配件
 
常见问题与解答 - BYM-NC内藏式双文丘里管主要特点及安装图

BYM-NC内藏式双文丘里管主要特点及安装图

点击次数:1044 发布时间:2013-11-06
 
BYM-NC内藏式双文丘里管主要特点及安装图
BYM-NC内藏式双文丘里管主要是针对工业企业中大管径、低流速、大流量各类气体进行流量测量,具有独特的结构设计,并在国家大型重点风洞实验室进行实流标定。可广泛用于石油、化工、冶金、电力等行业大管径流体的控制与计量。
适用范围
公称直径:圆形管道:350mm≤DN≤4000mm
矩形管道:350mm×350mm≤DN≤4000mm×4000mm
介质温度:t≤450℃(大于450℃时,订货时请注明)
公称压力:PN≤6.4MPa
稳定度:±10Pa
精度等级:0.5级,1级,1.5级
主要特点
对流体产生的阻力小、能耗低。
差压大、精度高、测量范围宽。
稳定性好,有平滑的差压特性。
因其独特的结构,长期使用不易发生堵塞现象。
安装方便,便于维护。
要求的前直管段比标准节流装置短,约前1.5D,后0.5D
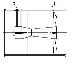
结构形式
文丘里管道结构示意图见图
矩形管道内藏式双文丘里管示意图见图
 
圆形管道内藏式双文丘里管示意图见图:
型谱规格及说明
型 号 规 格
说 明
 
BYM-NC
 
内藏式双文丘里管
管道截面形状
 
Y
 
圆形
 
F
 
方形
连接方式
 
1
 
法兰连接
 
2
 
对焊连接
法兰材质
 
C
 
碳钢
 
S
 
不锈钢
 
O
 
其它
公称压力
 
025
 
0.25MPa
 
06
 
0.6MPa
 
10
 
1MPa
 
 
……
 
64
 
6.4MPa
公称直径
 
-200
DN200
 
-250
DN 250
 
-300
DN 300
 
……
 
-4000
DN 4000
 
 
 
 
金湖虹润仪表有限公司主要经营压力校验仪,温度校验仪,压力校验台,流量计,数字显示仪,无纸记录仪,压力变送器,磁翻板液位计,压力表,热电偶,热电阻,双金属温度计等现场仪表和校验仪表系列。为我国工业自动化仪器仪表提供最优的产品和服务是我们不懈的追求。

版权所有:金湖虹润仪表有限公司 电话:0517-86781318,86951196传真:0517-86951198邮箱:dinghaifeng163@163.com

技术支持:给览网
苏ICP备16018834
点击这里给我发消息

点击这里给我发消息