压力校验仪表
  温度校验仪表
  数字显示仪表
  液位物位仪表
  流量测量仪表
  温度测量仪表
  压力测量仪表
  电线电缆配件
 
常见问题与解答 - BYM-CDH插入式多点均速流量测量装置测量原理及安装示意图

BYM-CDH插入式多点均速流量测量装置测量原理及安装示意图

点击次数:2471 发布时间:2013-11-18
 
BYM-CDH插入式多点均速流量测量装置测量原理及安装示意图
一、  概述
在火力发电厂,锅炉燃烧是否稳定直接关系到其运行的安全性和经济性。燃烧不稳定,不仅影响锅炉的效率,而且可能造成灭火。燃烧的经济性,就要求保持合理的风煤比,合理的一,二次风配比及送,吸风量的协调。由于风道截面积很大,直管段长度很短,要求压力损失小,插入式多点均速流量测量装置测量进入锅炉的风量,烟道的烟量和大容量机组回热蒸汽流量的测量取得了良好的使用效果。
插入式多点均速流量测量装置是从基尔管的基础上开发,按照速度面积法布置的一种新型流量传感器。它是节流式流量传感器与速度面积法测量方法的完美结合。传感器由多个基尔管探头按照速度面积法插入管道,将取压信号汇入引压管,从而得到流量。其测量精度高,主要应用在石化、冶金、热电行业有含尘烟气的超大管径的流量测量中。其造价相对较低,运输、安装更为便捷。
二、  测量原理
为了克服均速管测量低速气流量差压信号过小的缺点,产生一种基于均速管和文丘里管原理的流速测量传感器——基尔管如图所示:当平行流的来流流速为v0时,来流遇到小文丘里管受阻,流速降至V1静压由p增至p1,在小文丘里的喉部又降至p2,故基尔管可以增大压差提高灵敏度。一般可以提6~10倍。
由于管道中的流速不等于常数,实际风速分布也没有一定规律可遵循,但可以将测量流速的截面分割为许多小的单元面积Ai。假设每个单元面积内的流速为Vi,则总的流量就等于流过多个所有小单元面积的流量之和此方法称之为速度面积法。国际标准化组织已肯定了这种方法,并制定了相应的测量规范。当单元面积分割得愈多,所测的流量应愈准确。并在实际应用中得到了证实。
单元面积划分的原则
1、矩型管道:将矩型管道的长边和短边分别按等长度的原则,将矩型管道的横截面平均分若干个面积相同的小单元。测量每个小单元中心点的流速,再将所有小单元的流速之和平均,即是整个大横截面积的平均流速。(如图)
2、圆形管道:将圆形管道截面分割成若干个面积相等的同心圆环(中央为圆),测出每个圆环的流速,然后再将所有圆环(包括中央圆)的流速平均化,即得到该圆截面的平均流速。(如图)
而插入式多点均速流量测量装置是是以上两种流量测量方法的完美结合。它是基于利用速度面积法的概念发展而来。根据其结构尺寸及工况的不同将传感器插入多个测速点的位置上,通过均压环室取其平均差压值,就可以准确测得通过整个管道截面的流量。它是节流式流量传感器与速度面积法测量方法的完美结合。流量计算公式:
Qv=(π/4)D2·K·(2Δp/ρ)0.5
式中:
Qv——体积流量;
D ——管道通径;
K ——仪表系数,与装置结构有关;
Δp ——差压;
ρ ——被测流体密度;
三、特点
1、采用多点测量,可以真实反映管道流场状况使测量结果精度很高。
2、而采用整体式的结构又使其在大管径的测量上运输、安装方便。
3、多点测量,可很好解决超大、异型管道的流量测量问题。
4、差压值大,可解决大管径、低流速的流量测量难题。
5、流阻小,功耗低。
6、系统压差值大,稳定性好,几乎不用维护和保养。
7、使用范围宽,可根据使用条件和用户要求设计制造,便于安装 。
8、因其独特的结构,长期使用不易发生堵塞现象。
9、精度高,量程比可达1:10,连同装置在内的直管段总长仅为风管当量直径的1.5D。
10、要求前直管段为0.5~1.5D,无需后直管段。
四、主要技术参数
1、测量介质:空气、煤气、烟气、锅炉一、二次风等各种介质;
2、管道:圆管﹑矩形管;
3、管道适用范围: Dn=100~15000mm B×H=300×300~9000×9000mm;
4、基本误差限: ±1.0%;
5、公称压力: Pn≤16MPa;
6、流体温度: t≤650℃;
7、精度等级:1级1.5级 2.5级
五、结构形式及安装方式
BYM-CDH是有多个流量传感器按一定方法排列组合而成。插入式多点均速流量测量装置根据安装形式有插入式、整体式。在配置上分为基本配置和一体化配置。从结构布置上分为:单点单个测量,单点双重测量,多点多重测量。
结构如图所示
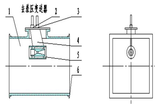
1. 单个测点安装结构简图(当管道尺寸小于300mm选用)
 
2. 单点多重安装结构简图(当管道尺寸为300~1000mm选用)
 
 
 1、测量管道2取压引嘴3引压导管4、后支撑5、翼型支撑6、法兰
 
圆形管道安装简图
矩形管道安装简图
3. 多点多重结构简图(当管道尺寸为1000~4000mm选用)
六、安装注意事项:
1、安装时,应尽量避免管道阻力件对流量测量的影响,尽量避开弯管、阀门等构件在管道中形成的涡流区。
2、确定安装位置后,按要求沿管道轴线方向开一个孔,要将法兰安放到管道孔上并焊接,施焊时注意法兰盘对称轴线与管道轴线平行,并确保插入式文丘里管流量测量装置插入管道的中心线上,其全压测量管必须正迎流速方向安装。
3、为保证焊接不变形,安装时不应拆开法兰,需进行整体安装,并紧固螺栓,确保密封性。
4、垂直管道上,插入式文丘里系列流量测量装置可以在管道的任一水平角度插入管道内。
5、在水平管道上,插入式文丘里系列流量测量装置测气体是最好从管道垂直方向插入。
七、型号标记方法:
BYM-CDH-DN□ 插入式多点均速流量测量装置
BYM——基本型号;- CDH——插入式多点均速流量测量装置
DN□——公称通径(㎜)例如DN2000,为公称通径2000
安装注意事项
1、选择管道无介质流动时在管道上开孔和焊接流量传感器安装底座。操作时应注意防止切屑和焊渣落入管道内;
2、开孔尺寸(开孔、法兰中心线应与管道中心一致);
序号
规格型号
开孔尺寸
安装简图
1
Φ108×4
90×50
见图一
2
Φ89×4
90×50
见图一
3
Φ133×4
90×50
见图一
4
Φ159×4.5
90×50
见图一
5
Φ273×7
90×50
见图一
6
Φ325×6
Φ255
见图一
7
Φ530×6
Φ255
见图一
8
1200×1200×4
Φ255
见图二
9
1200×550×4
Φ255
见图二
10
2600×2600×5
Φ255
见图二
3、流量传感器在安装前应检查尺寸和安装方向。
4、要保证安装后探头部位于管道中心线上,并且正对气流来流方向,外部表体应在同一水平面内;
 
 
 
 
金湖虹润仪表有限公司主要经营压力校验仪,温度校验仪,压力校验台,流量计,数字显示仪,无纸记录仪,压力变送器,磁翻板液位计,压力表,热电偶,热电阻,双金属温度计等现场仪表和校验仪表系列。为我国工业自动化仪器仪表提供最优的产品和服务是我们不懈的追求。

版权所有:金湖虹润仪表有限公司 电话:0517-86781318,86951196传真:0517-86951198邮箱:dinghaifeng163@163.com

技术支持:给览网
苏ICP备16018834
点击这里给我发消息

点击这里给我发消息